<li id="ccccc"></li>
<li id="ccccc"></li>
  • <li id="ccccc"><table id="ccccc"></table></li>
  • <li id="ccccc"><tt id="ccccc"></tt></li>
    <tt id="ccccc"><table id="ccccc"></table></tt>
  • <li id="ccccc"><table id="ccccc"></table></li>

    0373-2688775

    當前位置:首頁 > 產品中心 > 輸送系列

    HB型鏈斗、鏈板式輸送機

    輸送系列

      產品概述:  HB型鏈板、鏈斗式輸送機是一種固定輸送設備,該系列輸送機有如下特點:  1、適應性強,本機適用于不帶粘性的散狀物料及粒狀、塊狀物料的輸送,尤其適用于塊狀較大,且具有鋒利棱角,灼熱的(如水泥熟料等)物料的輸送,而且在輸送過程中可同時完成冷卻、清洗等工藝過程;  2、整機裝置緊湊、安裝、調試、維修方便;  3、鏈板、鏈斗結構合理、剛性好,耐沖擊性強;  4、以滾動磨擦代替滑動磨擦、運行阻力低;  5、鏈板機適用0°~15°傾角,鏈斗機輸送傾角大可達45°;  6、輸送距離≤30m時,可采用環鏈及板鏈作牽引件,輸送距離>30m時,為防止滑動,需采用板鏈作牽引件?! 〖夹g參數:外形結構:  1、鏈板機板沿高一般為80~120mm,視輸送物料及輸送量在設計時可適當變動,其物料是連續在鏈板上存放,為防止其過多漏料,其上傾角度一般不大于15°,其外型結構見下圖?! ?、鏈斗機的物料是存放在單鏈斗里進行輸送,其在輸送過程中,依靠重力及滾輪作用,鏈斗總處于水平狀態,故其可用于較大傾角輸送物料過程,其大上傾角可達到45°,共外型結構見下圖?! B鏈板式輸送機結構示意圖:      HB鏈斗式輸送機結構示意圖:  1、頭部 2、動力驅動鏈輪組 3、運載組件 4、傾斜中間支部 5、上道軌 6、下道軌 7、尾部鏈輪組 8、尾架  9、絲杠拉緊裝置  注意事項:  1、鏈斗機、鏈板機主要用于輸送磨損強,溫度高的物料,用戶訂貨時需注明型號,兩輪中心距,傾斜角度,大輸送量等工藝參數?! ?、動力裝置在鏈斗(板)機頭部、左、右裝可根據用戶要求變動?! ?、輸送速度以8~10m/min為宜,太低影響輸送量,太高噪音大,磨損增大。且HB800、HB1000適宜輸送堆密度較小的物料。
    60秒級人工響應
    24小時免費提供方案
    定制產品解決方案

    0373-2688775

      產品概述:

      HB型鏈板、鏈斗式輸送機是一種固定輸送設備,該系列輸送機有如下特點:

      1、適應性強,本機適用于不帶粘性的散狀物料及粒狀、塊狀物料的輸送,尤其適用于塊狀較大,且具有鋒利棱角,灼熱的(如水泥熟料等)物料的輸送,而且在輸送過程中可同時完成冷卻、清洗等工藝過程;

      2、整機裝置緊湊、安裝、調試、維修方便;

      3、鏈板、鏈斗結構合理、剛性好,耐沖擊性強;

      4、以滾動磨擦代替滑動磨擦、運行阻力低;

      5、鏈板機適用0°~15°傾角,鏈斗機輸送傾角大可達45°;

      6、輸送距離≤30m時,可采用環鏈及板鏈作牽引件,輸送距離>30m時,為防止滑動,需采用板鏈作牽引件。

      技術參數:

    HB型鏈板、鏈斗式輸送機主要技術參數.jpg

    外形結構:

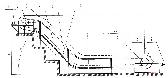
      1、鏈板機板沿高一般為80~120mm,視輸送物料及輸送量在設計時可適當變動,其物料是連續在鏈板上存放,為防止其過多漏料,其上傾角度一般不大于15°,其外型結構見下圖。

      2、鏈斗機的物料是存放在單鏈斗里進行輸送,其在輸送過程中,依靠重力及滾輪作用,鏈斗總處于水平狀態,故其可用于較大傾角輸送物料過程,其大上傾角可達到45°,共外型結構見下圖。

      HB鏈板式輸送機結構示意圖:

      

    HB鏈板式輸送機結構示意圖.jpg

      

      HB鏈斗式輸送機結構示意圖:

    HB鏈斗式輸送機結構示意圖.jpg

      1、頭部 2、動力驅動鏈輪組 3、運載組件 4、傾斜中間支部 5、上道軌 6、下道軌 7、尾部鏈輪組 8、尾架  9、絲杠拉緊裝置

      注意事項:

      1、鏈斗機、鏈板機主要用于輸送磨損強,溫度高的物料,用戶訂貨時需注明型號,兩輪中心距,傾斜角度,大輸送量等工藝參數。

      2、動力裝置在鏈斗(板)機頭部、左、右裝可根據用戶要求變動。

      3、輸送速度以8~10m/min為宜,太低影響輸送量,太高噪音大,磨損增大。且HB800、HB1000適宜輸送堆密度較小的物料。


    眾人天機械成功案例

    公司產品廣銷全國多個省市地區,產品獲得廣大客戶好評

    眾人天機械品牌優勢

    秉持“專一、專注”的精神,提供匠心產品,服務全球千萬用戶

    眾人天機械企業實力

    專注于機械領域,擁有20年生產經驗,技術成熟,品質保障

    眾人天機械相關產品

    實力雄厚 · 設備優良 · 質量保證 · 用戶至上 · 合作共贏

    contact us

    聯系方式

    全國統一熱線:0373-2688775(李經理)

    電話:0373-2688775

    郵箱:henan@zhongrentian.com

    地址:河南省新鄉市牧野區王村鎮周村

    ATTENTION

    關注我們

    關注我們

    版權所有 河南眾人天機械制造有限公司 備案號:豫ICP備15026048號-1 
    国产成人A∨在线